ТЕЛЕЖКА МОДЕЛИ 18-578
В 2004 г. в результате комплексной модернизации тележки модели 18-100 специалисты ОАО «НПК “Уралвагонзавод”» разработали тележку модели 18-578. Данная тележка позволила при минимальных изменениях в конструкции добиться улучшения эксплуатационных показателей. Она поставлена на серийное производство и эксплуатируется в составе полувагонов производства ОАО «НПК “Уралвагонзавод”». В дальнейшем планируется эксплуатация этой тележки в составе всех вагонов грузового парка.
В тележке модели 18-578 применен ряд конструктивных и технологических решений для увеличения межремонтного периода грузовых вагонов по пробегу до 500 тыс. км и гарантийного срока эксплуатации до 4 лет. В тележке используются съемные скользуны упруго-каткового типа производства ОАО «НПК “Уралвагонзавод”», чугунные термоупрочненные фрикционные клинья с уретановыми накладками.
Помимо этого, в конструкции предусмотрена защита основных узлов трения. В том числе — износостойкая чаша в подпятнике надрессорной балки, колеса повышенного качества и твердости, подшипники кассетного типа. Рессорное подвешивание в данной тележке выполнено из пружин меньшей, по сравнению с тележкой 18-100, жесткостью.

Общий вид тележки 18-578
Технические данные
Тележка 18-578 двухосная, с центральным рессорным подвешиванием. База тележки 1850 мм. Рама тележки нежесткого типа. Передаточное число тормозной рычажной передачи — 7. Масса тележки (расчетная) - 4,75 т. Предназначена для подкатки под грузовые вагоны с изменённой ответной частью скользуна на раме вагона.
Конструкция тележки обеспечивает прохождение вагонами кривых участков пути с минимальным радиусом 60 м, сортировочных горок и горок вагоноопрокидывателей. Тележки могут быть оборудованные авторежимом, предназначенным для тележек с повышенным прогибом, а также не оборудованные авторежимом. При оборудовании вагона автоматическим регулятором режимов торможения на одной из тележек, подкатываемых под вагон, устанавливается опорная балка.
Боковые рамы и надрессорная балка изготовлены из стали 20ГЛ ОСТ 32.183. Износостойкие элементы боковых рам и надрессорных балок из стали ЗОХГСА ГОСТ 11269.
Назначенный срок службы тележки (по ресурсу боковой рамы и надрессорной балки) - 32 года. Назначенный ресурс по пробегу от постройки до первого деповского ремонта - 500 тыс. км, но не более 4 лет, для тележек без износостойкой защиты наружного бурта подпятникового места надрессорной балки - 250 тыс. км., но не более 3 лет.
Маркировка тележки
На наружной стороне каждой боковой рамы тележки выбиваются:
- знак «18-578»;
- товарный знак или условный номер предприятия-изготовителя;
- порядковый номер тележки по системе нумерации предприятия-изготовителя;
- месяц и две последние цифры года изготовления, месяц обозначается римскими цифрами; приемочные клейма ОТК и «ОАО РЖД».
Место маркировки обведено белой краской.
Устройство тележки 18-578
Тележка 18-578 состоит из:
- двух колесных пар с буксовыми узлами. Буксовые узлы оборудованы цилиндрическими подшипниками 36-42726Е2М и 36-232726Е2М или двухрядными коническими подшипниками кассетного типа TBU 130x250, которые установлены в типовые корпусы букс грузовых вагонов. В колесной паре применена ось РУ1Ш. Крепление подшипников на оси осуществляется шайбой с четырьмя болтами М20;
- двух боковых рам;
- надрессорной балки;
- рессорного подвешивания с центральным расположением рессорных комплектов в боковых рамах тележки. Рессорный комплект включает семь двойных витых цилиндрических пружин и два фрикционных клина гасителя колебаний, отлитых из высокопрочного чугуна. Для защиты от износов на наклонной поверхности клина устанавливается сменная износостойкая полимерная накладка, которая фиксируется посредством выступов, выполненных за одно целое с телом накладки и входящих в аналогичные углубления клина;
- тормозной рычажной передачи с односторонним нажатием колодок на колеса и подвесными триангелями. Тележка может оборудоваться тормозной рычажной передачей тележки модели 18-100 с триангелями по ГОСТ 4686.
Тележка оборудована:
- упруго-катковыми скользунами;
- устройством направленного отвода колодок от колес при отпущении тормоза
На опорные поверхности буксовых проёмов в боковых рамах (см. фото) установлены сменные износостойкие прокладки 1, состоящие из стальной скобы 2 толщиной 4 мм и приварной износостойкой планки 3 толщиной 4 мм.

Рисунок - Боковая рама тележки модели 18-578 с износостойкими прокладками в буксовом проеме
Для защиты от износа подпятникового места надрессорной балки оно оборудуется износостойкими элементами в двух вариантах исполнения:
- на опорную поверхность подпятникового места устанавливается износостойкая прокладка толщиной 6,5 мм;
- в подпятниковое место свободно устанавливается чаша из низколегированной стали.

Рисунок - Подпятниковая чаша
Для защиты от износов на наклонной поверхности фрикционного клина устанавливается сменная износостойкая полимерная накладка, которая фиксируется посредством выступов, выполненных за одно целое с телом накладки и входящих в аналогичные углубления клина.

Рисунок - Фрикционный клин со сменной накладкой
Упруго-катковый скользун
Одной из особенностей конструкции данной модели тележки является наличие упруго-катковых скользунов. Скользуны упруго-каткового типа постоянного контакта предназначены для гашения боковых колебаний кузова вагона, ограничения виляния тележки и повышения устойчивости движения вагона.

Рисунок - Упруго-катковый скользун тележки модели 18-578
Упруго-катковый скользун тележки состоит из корпуса, упругого элемента (демпфера), колпака, вкладыша и ролика.
Демпфер выполнен бочкообразной формы из полимерного материала, который находится в литом корпусе и предназначен для гашения вертикальных колебаний. На демпфер устанавливается колпак из износостойкого материала, который находится в постоянном контакте с ответной частью скользуна, расположенной на шкворневой балке рамы вагона. Ролик 5, установленный на поверхности катания (вкладыше) 4 внутри корпуса 1, служит ограничителем прогиба демпфера 2. В местах контакта колпака 3 с корпусом 1 установлены два сменных износостойких элемента 6, толщиной 4 мм.
Скользуны устанавливаются на опорные площадки надрессорной балки. Крепление осуществляется при помощи болтов 7 и стопорных шайб 8.

Рисунок - Упруго-катковый скользун
1 - корпус, 2 - демпфер, 3 - колпак, 4 - вкладыш, 5 - ролик, 6 - сменный износостойкий элемент, 7 — болт М24,
8 — шайба 24, 9 — прокладка регулировочная


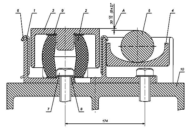
На раме кузова вагона узел упруго-каткового скользуна состоит из скользуна 1, приваренного к нижнему листу шкворневой балки, опорной пластины скользуна 2, которая крепится к скользуну винтами 3, гайками 5.
Винты стопорятся контргайкой 8, шайбой 4 и проволокой 6. Между опорной пластиной и скользуном устанавливаются регулировочные прокладки 7, которые подбираются для обеспечения необходимого зазора между опорной пластиной скользуна кузова и роликом скользуна тележки

Узел упруго-каткового скользуна на раме вагона
Перед подкаткой тележек под вагон производится обязательная регулировка скользунов тележки в свободном состоянии по размеру А (30±1,5 мм), которое обеспечивается регулировочными прокладками 9, расположенными между колпаком 3 и демпфером 2. После подкатки тележек под вагон производится регулировка по размеру А (8±2мм) под тарой вагона обеспечивается регулировочными прокладками ответной части скользуна, расположенной на раме вагона.
В эксплуатации зазор между роликовыми скользунами тележки и опорной пластиной скользуна рамы должен быть от 4 до 14 мм. В случае если зазор выходит из указанных размеров, необходимо произвести регулировку его в пределах от 6 до 10 мм. Для регулировки зазора должны применяться прокладки толщиной от 1,5 до 8 мм. Прокладок должно быть не более 4 шт.
Устройство направленного отвода колодок тормозной рычажной передачи тележки модели 18-578
Это устройство содержит два жестко закрепленных с одного края стержня 1, проходящих в отверстия кронштейнов 2, приваренных на триангелях 3. В отверстиях кронштейнов установлены износостойкие полимерные втулки 4 (см. фото). Скобы 5 подгибаются к головкам стержней и служат их предохранением от выпадения. Крепление тормозных башмаков 6 и наконечников на триангеле 3 осуществляется посредством заклепок.


В шарнирных соединениях рычагов с триангелями, затяжками и державкой мертвой точки установлены износостойкие втулки. В отверстиях подвесок триангеля 7 установлены резиновые втулки. Не допускается изгиб стержня устройства направленного отвода колодок.
Технологическую инструкцию с чертежами и правилами ремонта по тележке 18-578 можно скачать здесь
В начало страницы
Назад <<< >>> Вперед
|