ЦЕНТРИРУЮЩИЙ ПРИБОР
Наиболее распространенным из центрирующих приборов является прибор маятникового типа, которым оборудована большая часть вагонов и локомотивов.

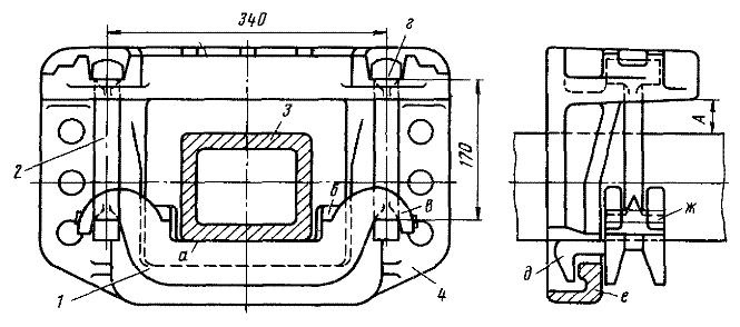
Он состоит из центрирующей балочки 1 и двух маятниковых подвесок 2. Отклоненная автосцепка 3 постоянно стремится возвратиться в центральное положение под действием собственного веса. Центрирующие приборы маятникового типа бывают нескольких разновидностей — для грузовых, пассажирских вагонов и локомотивов.
Центрирующая балочка имеет плоскость а, переходящую в расположенный под прямым углом к ней ограничитель д, который при установке балочки на вагон заходит за вертикальную стенку е ударной розетки 4. Ограничитель удерживает балочку на месте во время продольных перемещений автосцепки. Боковые ограничители б не допускают выхода автосцепки за пределы опорной плоскости а при отклонении ее в приподнятом состоянии. Крюкообразными выступами в балочка опирается на маятниковые подвески.
Маятниковая подвеска 2 состоит из стержня диаметром 25 мм, верхней (широкой) и нижней головок. Ширина нижней головки подвески равна диаметру стержня, а ширина верхней составляет 40 мм; длина головок одинакова (64 мм).
При сборке центрирующего прибора в отверстия ударной розетки переднего упора пропускают нижние головки и стержни подвесок, затем разворачивают их на 90° так, чтобы головки были направлены вдоль оси вагона и верхняя головка стала в гнезде г розетки. Затем на нижние головки навешивают центрирующую балочку так, чтобы стержни подвесок вошли между крюкообразными выступами, а ограничитель д — за вертикальную стенку е розетки. Установив центрирующую балочку, проверяют ее подвижность (она должна свободно перемещаться в сторону и сама возвращаться в центральное положение). Вследствие того, что, отклоняясь в сторону, центрирующая балочка одновременно поднимается вверх, проверяют зазор А между верхней плоскостью хвостовика автосцепки и потолком ударной розетки переднего упора.
В эксплуатации можно встретить также центрирующие балочки грузовых и пассажирских вагонов с приварными перемычками ж, обеспечивающими наряду с удлиненными крюкообразными опорами удержание маятниковой подвески от выхода из-под крюкообразной опоры балочки. При наличии таких перемычек постановка головок маятниковых подвесок под крюкообразные опоры осуществляется до их поворота в рабочее положение.
Центрирующий прибор, представленный на следующем рисунке, устанавливается на пассажирских вагонах, а также некоторых других видах подвижного состава (рефрижераторные вагоны, некоторые типы локомотивов и электропоездов и др.).

Детали этого прибора отличаются от вышеописанного в основном размерами. Для того чтобы автосцепка меньше поднималась при боковых отклонениях, увеличена длина маятниковых подвесок 1. Верхняя и нижняя головки подвесок одинаковы. Увеличен проем между боковыми ограничителями центрирующей балочки 2. Центрирующая балочка этой конструкции прочнее, чем в центрирующем приборе для грузовых вагонов. Центрирующие приборы некоторых типов локомотивов отличаются от описанных выше лишь размерами в зависимости от конструктивного исполнения рамы локомотива.
Восьмиосные вагоны оборудуются центрирующим прибором с подпружиненной опорой для хвостовика автосцепки.

В целях снижения уровня шума в салоне пассажирского вагона, вызванного ударами автосцепки о центрирующую балочку при проскальзывании в контуре зацепления в процессе вертикальных относительных перемещений вагонов, центрирующие балочки пассажирских вагонов могут быть оборудованы противошумными резиновыми прокладками.
Поддерживающую плиту балочки укладывают на резиновую прокладку. Для предупреждения перемещений плиты относительно корпуса балочки служат цилиндрические выступы, укрепленные на плите.
В начало страницы
Назад <<< >>> Вперед
|
|